Description
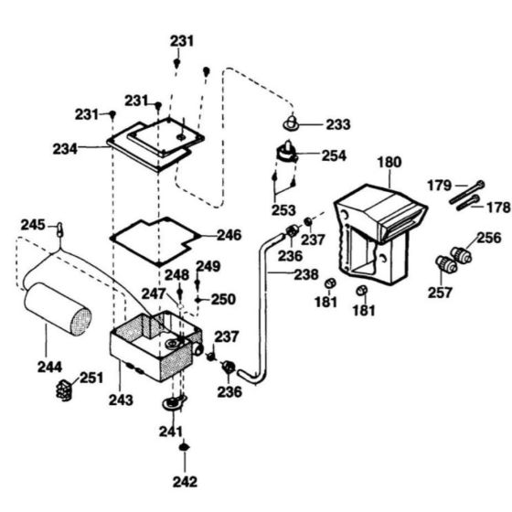
The Housing Assembly for the DeWalt DW721-TYPE-2-4 Radial Arm Saw is a genuine DeWalt part designed to ensure optimal performance and longevity. This assembly includes critical components that protect and house the saw's internal mechanisms, contributing to its stability and precision. Essential for maintaining the saw's functionality, it is available in various configurations to suit specific needs.
Reviews
Add a review
Write Your Own Review
Ask a Question
Customer Questions

