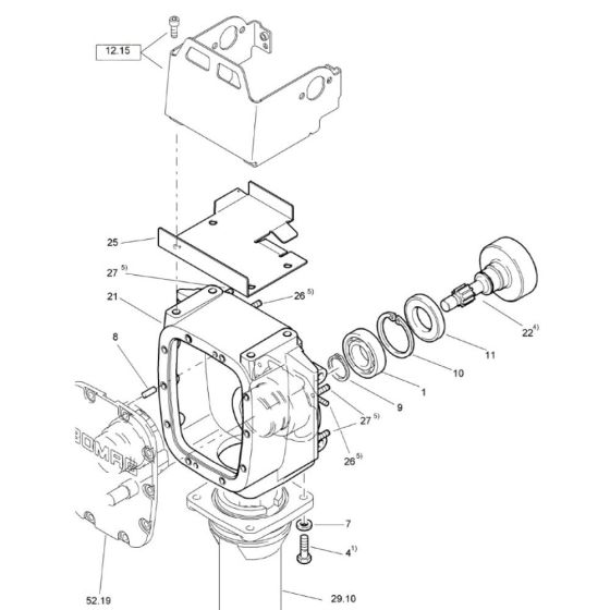
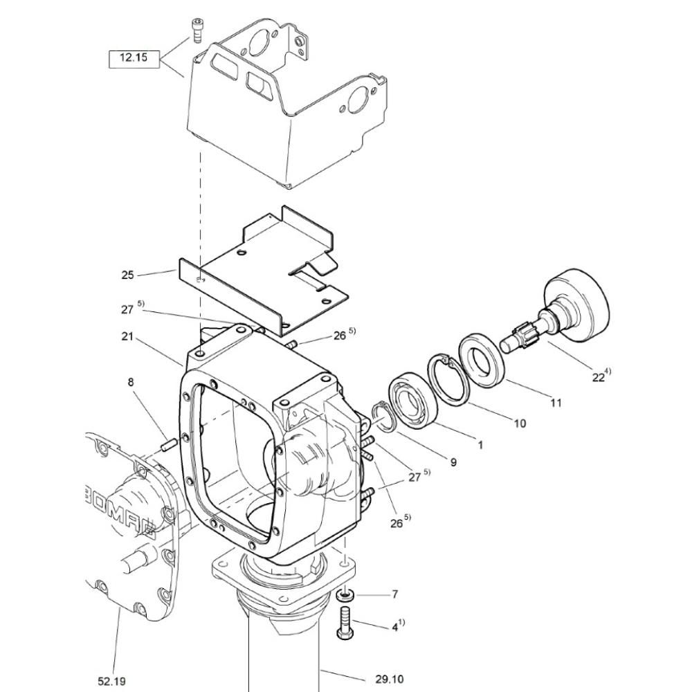
Description
The housing for Bomag BT65/4 Rammers is designed to protect and encase the internal components, ensuring optimal performance and durability. This essential part is available in both genuine and non-genuine options, catering to various maintenance needs. It plays a crucial role in safeguarding the machine's engine and other vital parts from external damage.
Reviews
Add a review
Write Your Own Review
Ask a Question
Customer Questions

