Description
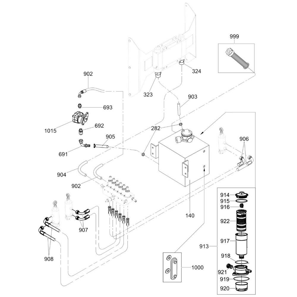
The Hydraulic Assembly for the Wacker CRT 48-57 K-PS Trowel includes essential components to ensure optimal performance and longevity of your ride-on trowel. Designed for efficient power transmission, this assembly helps maintain smooth operation and control. Genuine Wacker Neuson parts are available, ensuring compatibility and reliability.
Reviews
Add a review
Write Your Own Review
Ask a Question
Customer Questions

