Description
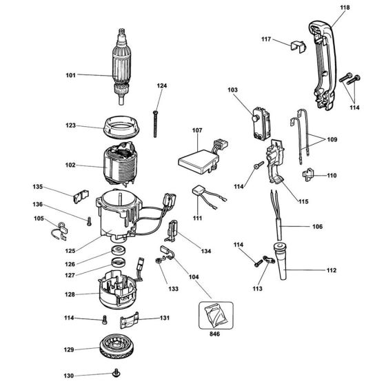
The Main Assembly for the DeWalt DW543 Type 3 Chipping Hammer is designed to ensure optimal performance and longevity. This genuine DeWalt part includes components essential for the hammer's operation, such as pistons, seals, and springs. Regular maintenance with these parts helps maintain efficiency and reduce wear.
Reviews
Add a review
Write Your Own Review
Ask a Question
Customer Questions

