Description
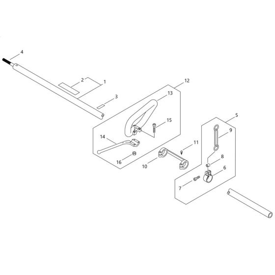
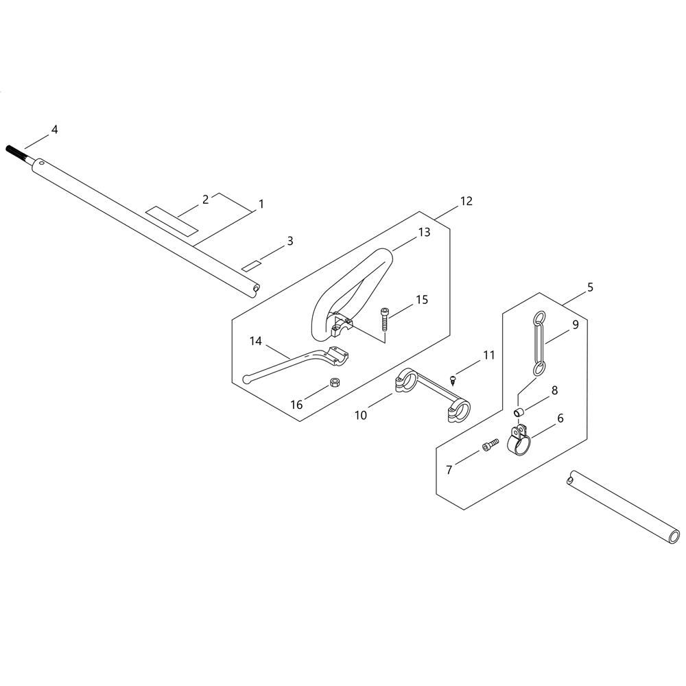
The Main Pipe and Handle for the Shindaiwa T251 Brushcutter are essential components for maintaining optimal performance. These genuine Shindaiwa parts ensure a secure grip and efficient operation during trimming tasks. Designed for durability and compatibility, they are crucial for effective brushcutting and garden maintenance.
Reviews
Add a review
Write Your Own Review
Ask a Question
Customer Questions

