Description
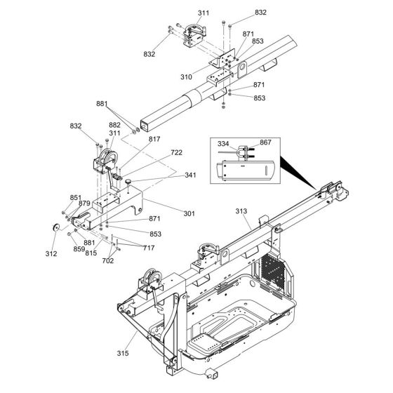
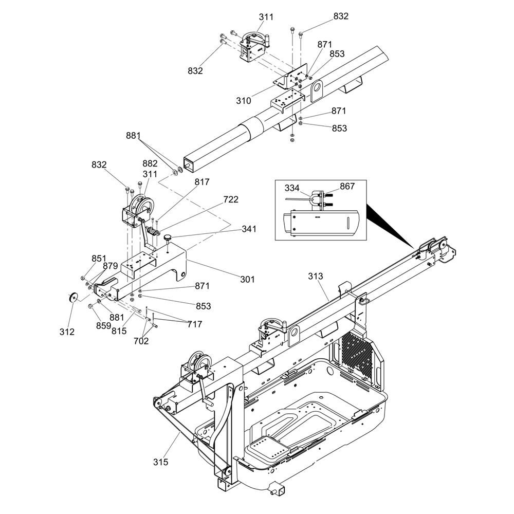
The Manual Winch Assembly for the Wacker LTN6L Lighting Tower is essential for raising and lowering the tower mast safely and efficiently. This assembly includes components such as cables, gears, and handles, ensuring smooth operation and stability. Designed for durability, it supports the lighting tower's functionality in various environments.
Reviews
Add a review
Write Your Own Review
Ask a Question
Customer Questions

