Description
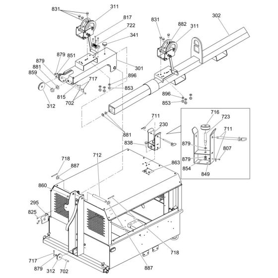
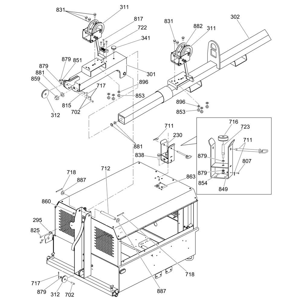
The Manual Winch Assembly for the Wacker LTW20Z3 Lighting Tower is designed to facilitate the raising and lowering of the tower mast. This assembly includes components such as cables, pulleys, and handles, ensuring smooth operation and reliable performance. Essential for maintaining the functionality of your lighting tower, it supports safe and efficient height adjustments.
Reviews
Add a review
Write Your Own Review
Ask a Question
Customer Questions

