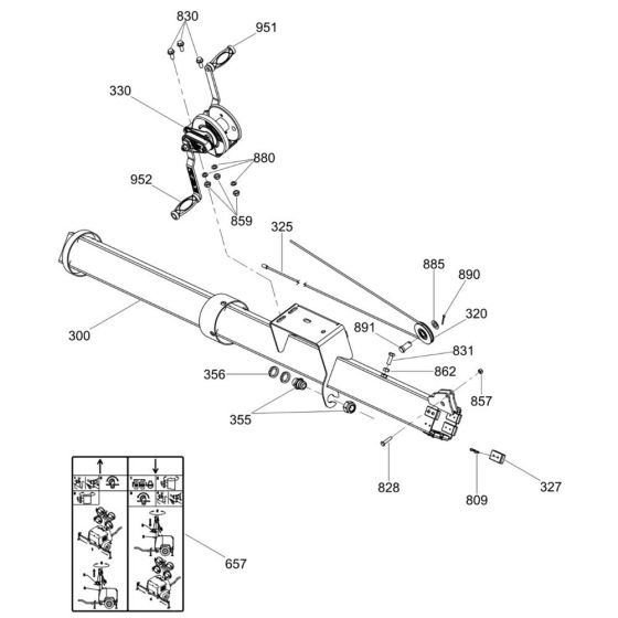
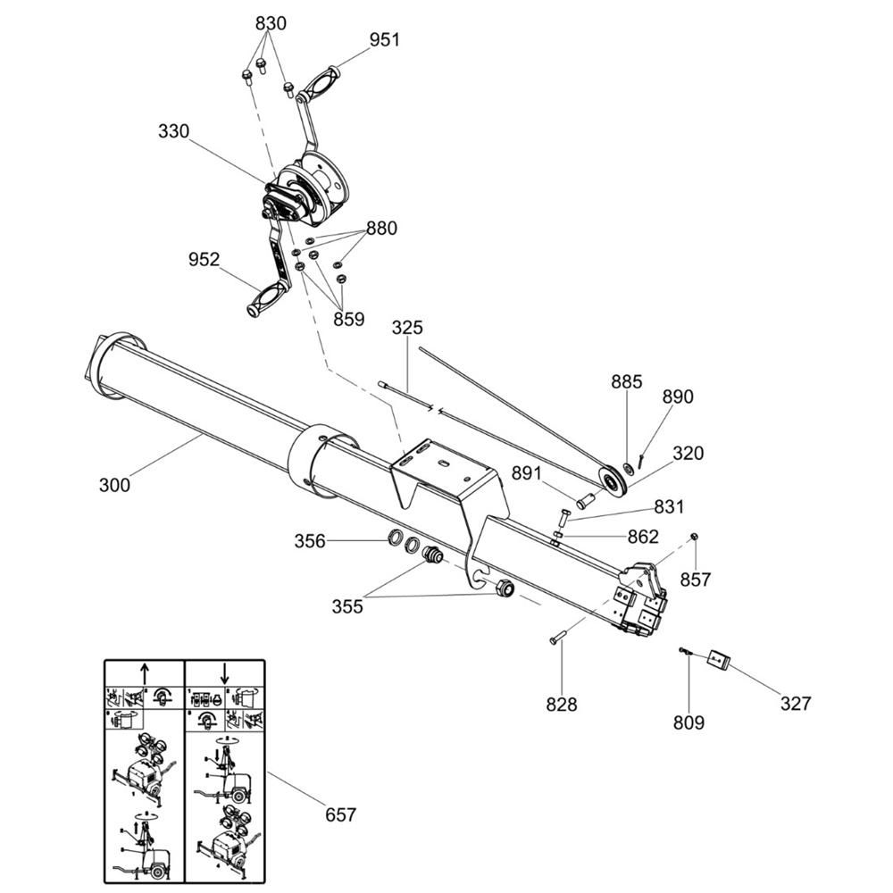
Description
The Manual Winch Assembly for the Wacker Neuson LTV6K Lighting Tower is designed to facilitate the raising and lowering of the tower mast. This assembly ensures smooth operation and stability, crucial for optimal lighting performance. Components typically include cables, pulleys, and handles, all crafted to meet the high standards of Wacker Neuson equipment.
Reviews
Add a review
Write Your Own Review
Ask a Question
Customer Questions

