Description
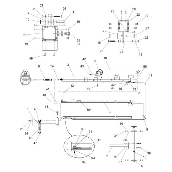
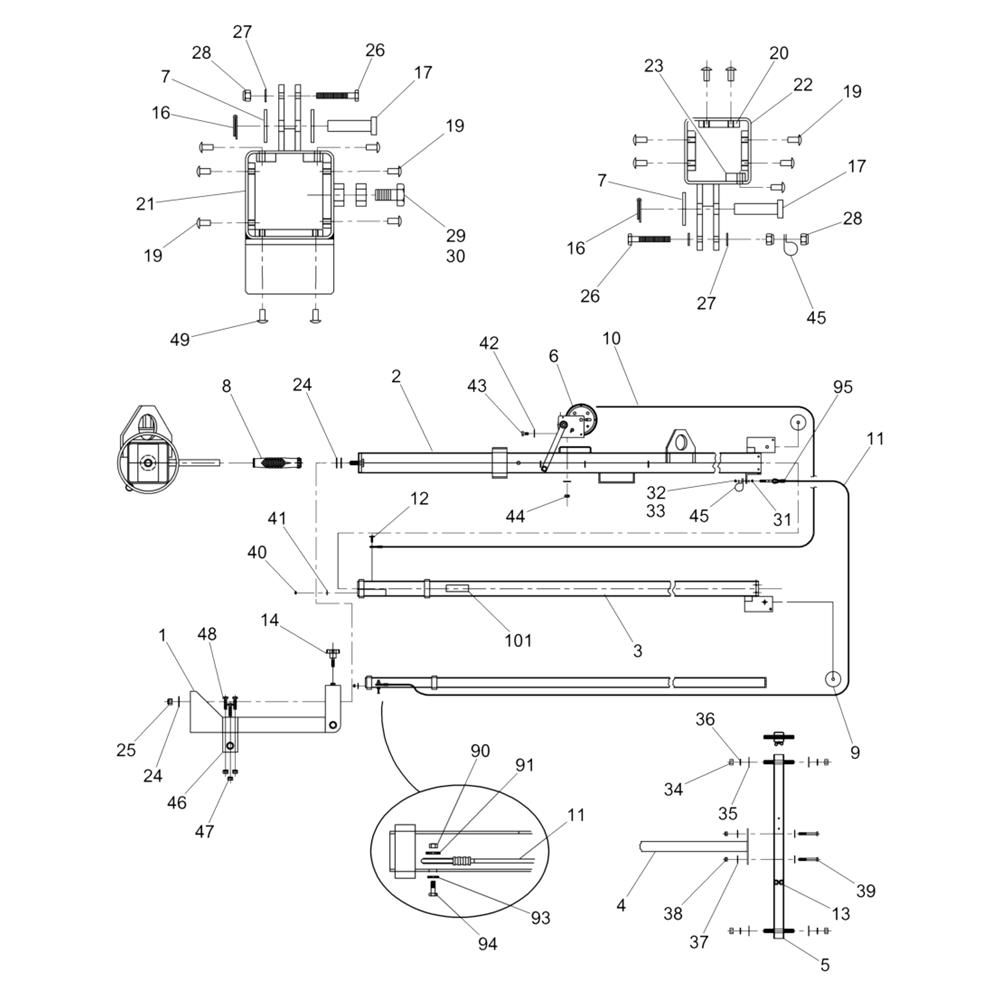
The Mast Assembly for the Wacker LTC4C Lighting Tower is essential for optimal performance and stability. It includes components like brackets, pulleys, and cables, ensuring the tower's height adjustment and secure positioning. Designed to withstand harsh conditions, these parts maintain the tower's functionality and safety. Genuine Wacker Neuson parts ensure compatibility and reliability.
Reviews
Add a review
Write Your Own Review
Ask a Question
Customer Questions

