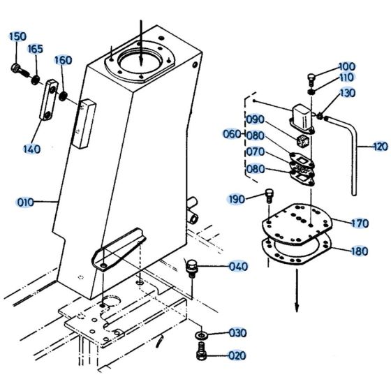
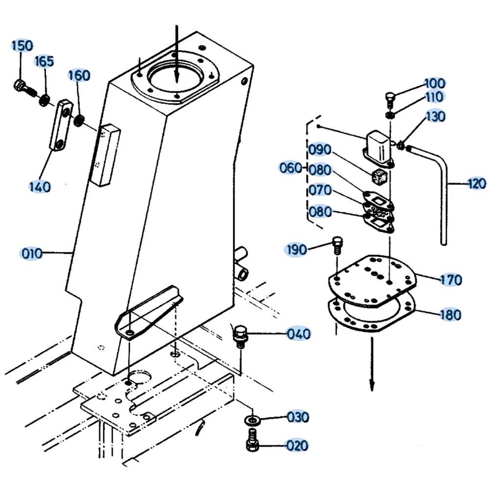
Description
The Oil Tank Assembly for the Kubota KH41 Mini Excavator is designed to ensure efficient hydraulic fluid storage and distribution. This assembly includes components such as hoses, seals, and fittings, which are essential for maintaining optimal performance. Genuine Kubota parts ensure compatibility and reliability, supporting the excavator's hydraulic system effectively.
Reviews
Add a review
Write Your Own Review
Ask a Question
Customer Questions

