Description
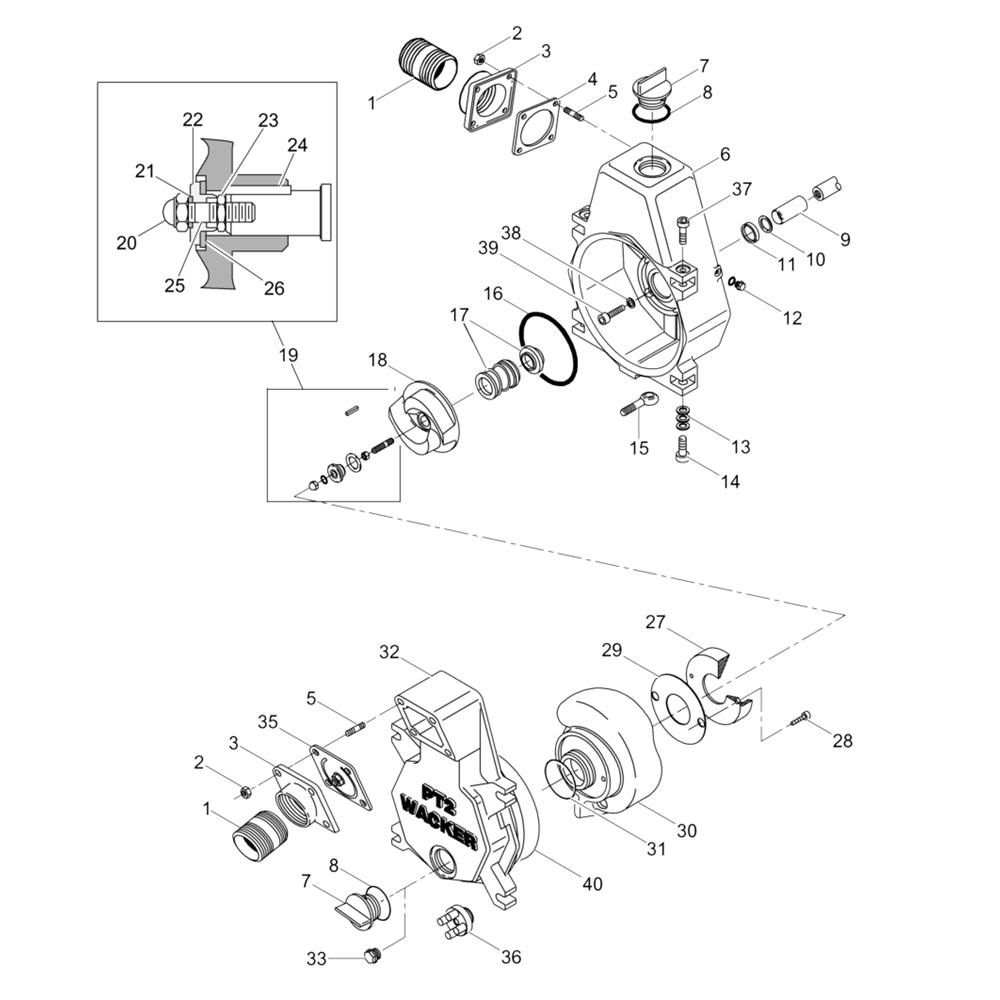
The Pump Assembly for the Wacker PT2B Pump includes essential components to ensure optimal performance and longevity. Designed for effective water transfer, this assembly helps maintain the pump's efficiency by providing reliable parts such as impellers, seals, and gaskets. Genuine Wacker Neuson parts ensure compatibility and durability for demanding applications.
Reviews
Add a review
Write Your Own Review
Ask a Question
Customer Questions

