Description
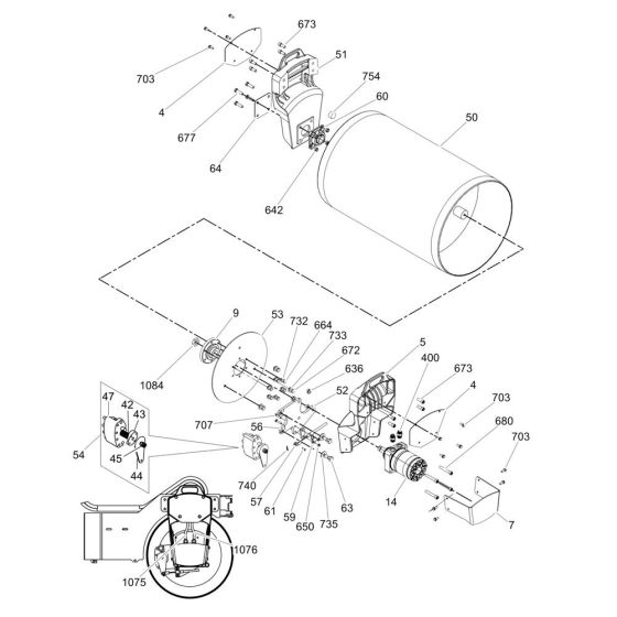
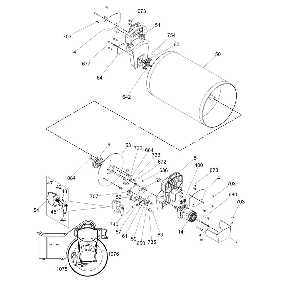
The Rear Drum Assembly for the Wacker RD12 Roller is crucial for effective compaction and smooth operation. This assembly includes genuine Wacker Neuson parts designed to maintain the roller's performance and durability. Components such as bearings, seals, and drum skins ensure optimal function and longevity. Suitable for routine maintenance and repair tasks.
Reviews
Add a review
Write Your Own Review
Ask a Question
Customer Questions

