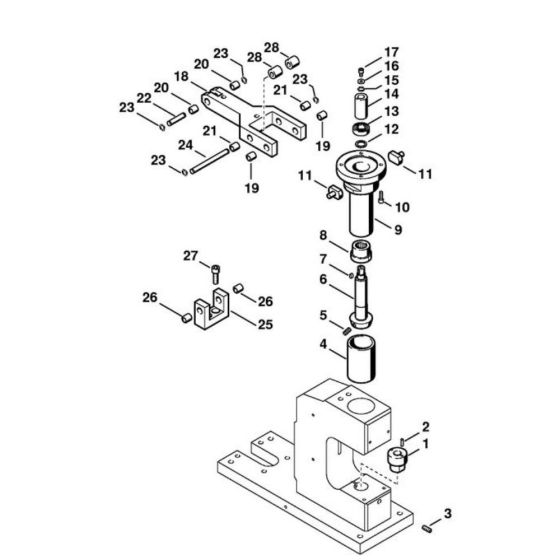
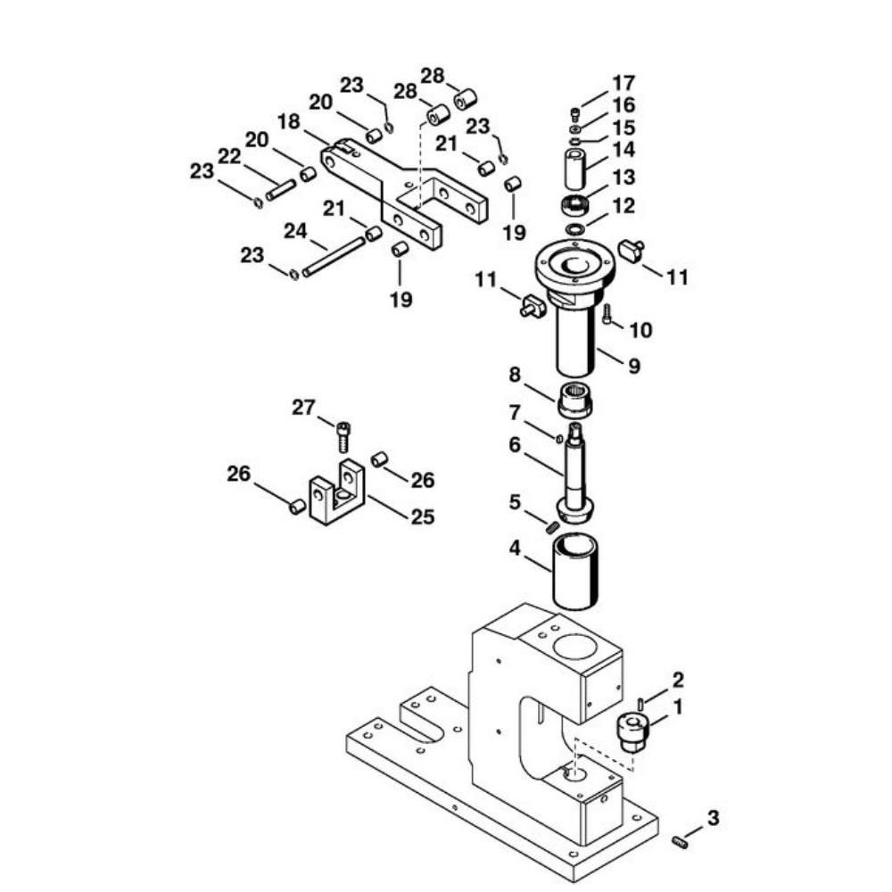
Description
The Rivet Spinning Attachment Assembly is designed for Stihl NG 3 Rivet Spinners, ensuring efficient and precise rivet spinning. This genuine Stihl part enhances the performance of your rivet spinner by providing reliable and durable components. Ideal for maintaining and repairing your equipment, it includes essential parts to keep your tools in optimal condition.
Reviews
Add a review
Write Your Own Review
Ask a Question
Customer Questions

