Description
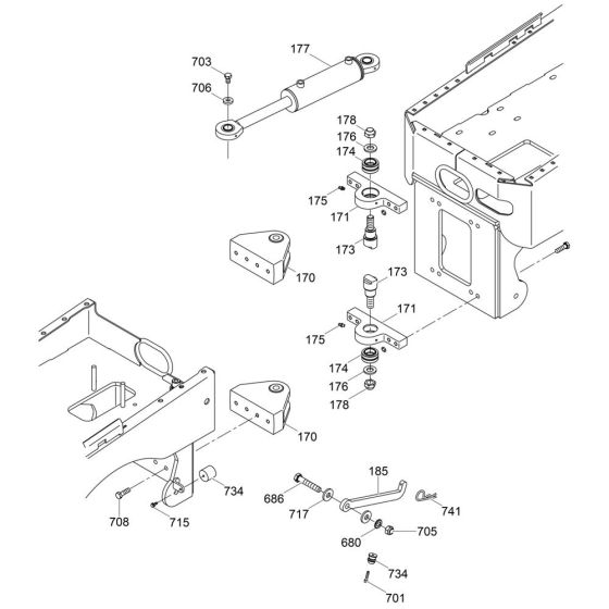
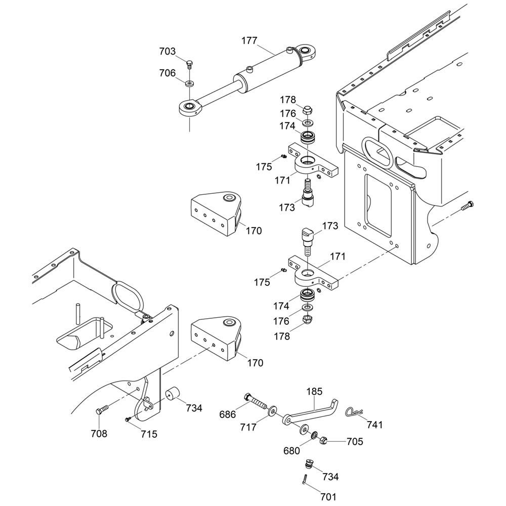
The Steering Joint Assembly for the Wacker RTL82-SC3 Trench Roller is essential for maintaining precise control and manoeuvrability. This assembly includes components such as joints, bearings, and seals, ensuring smooth operation and reducing wear. Designed specifically for the Wacker Neuson model, it supports optimal performance in demanding construction environments.
Reviews
Add a review
Write Your Own Review
Ask a Question
Customer Questions

