Description
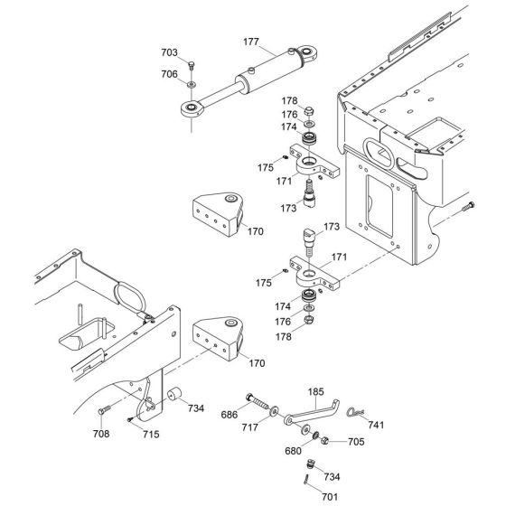
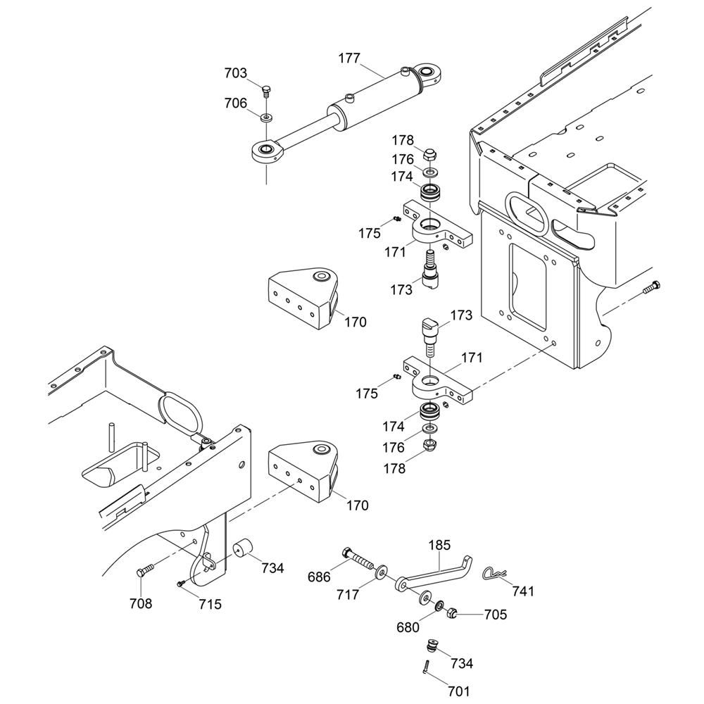
The Steering Joint Assembly for the Wacker RTLx-SC3 Trench Roller is essential for maintaining precise control and manoeuvrability. This assembly includes components such as joints, bearings, and seals, ensuring smooth operation and reliability. Designed for the Wacker Neuson model, it supports effective steering and enhances the machine's performance in demanding environments.
Reviews
Add a review
Write Your Own Review
Ask a Question
Customer Questions

