Description
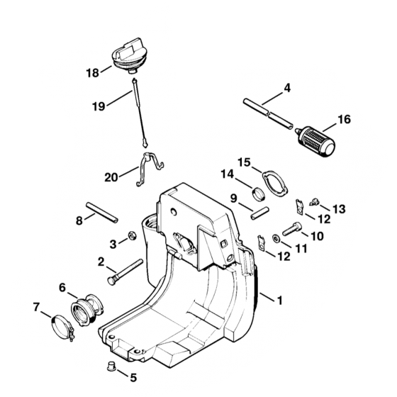
The Stihl FS160 FS180 Tank Housing Assembly is designed for use with Stihl FS160 and FS180 brushcutters. This assembly includes components crucial for the secure containment and protection of the fuel tank, ensuring reliable operation. Available in both genuine and non-genuine parts, it supports the maintenance and repair of your brushcutter.
Reviews
Add a review
Write Your Own Review
Ask a Question
Customer Questions

