Description
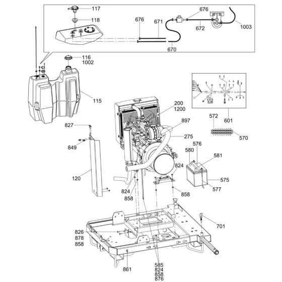
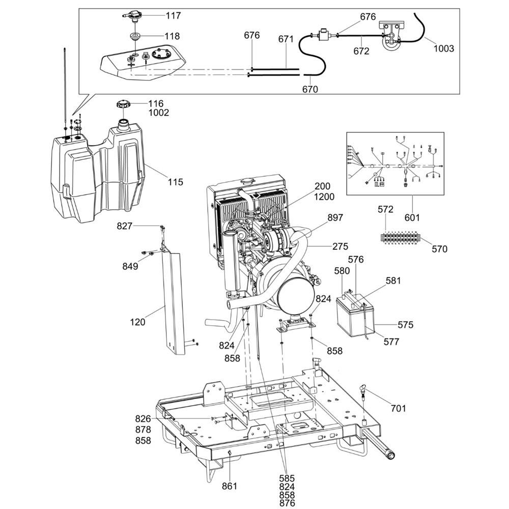
The Support Assembly for the Wacker Neuson LTV8K Lighting Tower is designed to ensure stability and optimal performance. This assembly includes key components such as brackets, fasteners, and stabilisers, essential for maintaining the tower's structural integrity. Genuine Wacker Neuson parts ensure compatibility and reliability, supporting the lighting tower in various operational conditions.
Reviews
Add a review
Write Your Own Review
Ask a Question
Customer Questions

