Description
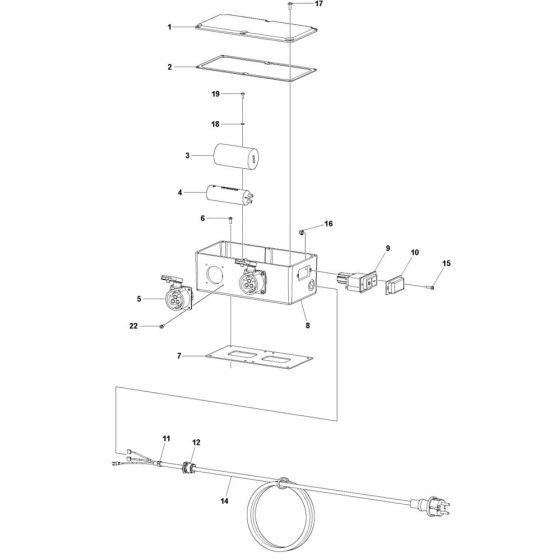
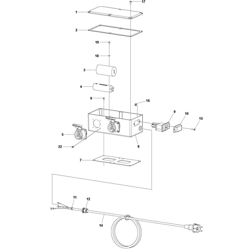
The Terminal Box Assembly for the Husqvarna CF 25 M Drive Unit is designed to ensure efficient electrical connections and protection. This assembly includes components such as connectors, terminals, and protective housings, which are crucial for maintaining the drive unit's performance and safety. Suitable for routine maintenance and repair, it helps in safeguarding the unit from electrical faults and environmental factors.
Reviews
Add a review
Write Your Own Review
Ask a Question
Customer Questions

