Description
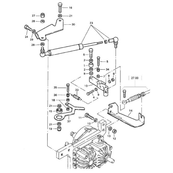
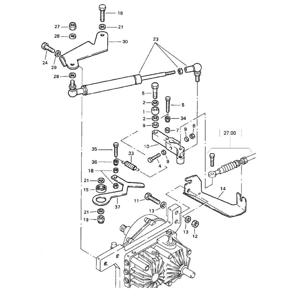
The Throttle Control Assembly for the Bomag BW 71 E Roller ensures precise engine speed management, enhancing operational efficiency. This assembly includes components such as cables, levers, and springs, vital for maintaining control and performance. Designed for the Bomag BW 71 E models from 101620201001 to 101620201120, it supports reliable machine operation.
Reviews
Add a review
Write Your Own Review
Ask a Question
Customer Questions

