Description
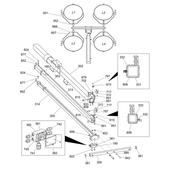
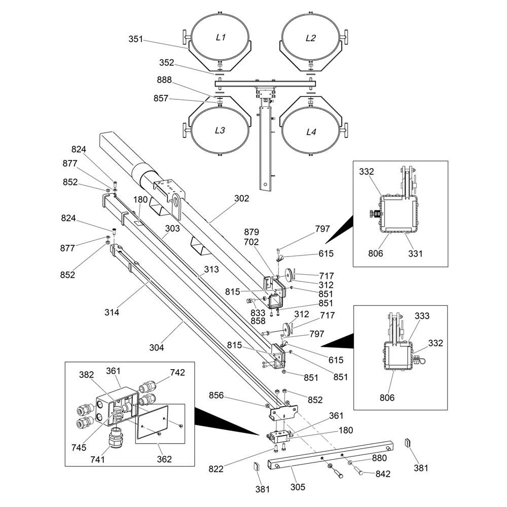
The Tower Assembly for the Wacker LTN6L Lighting Tower includes essential components to ensure optimal performance and durability. This assembly is crucial for maintaining the stability and functionality of the lighting tower, providing reliable illumination for various applications. Components may include brackets, fasteners, and structural elements, designed to withstand demanding conditions.
Reviews
Add a review
Write Your Own Review
Ask a Question
Customer Questions

