Description
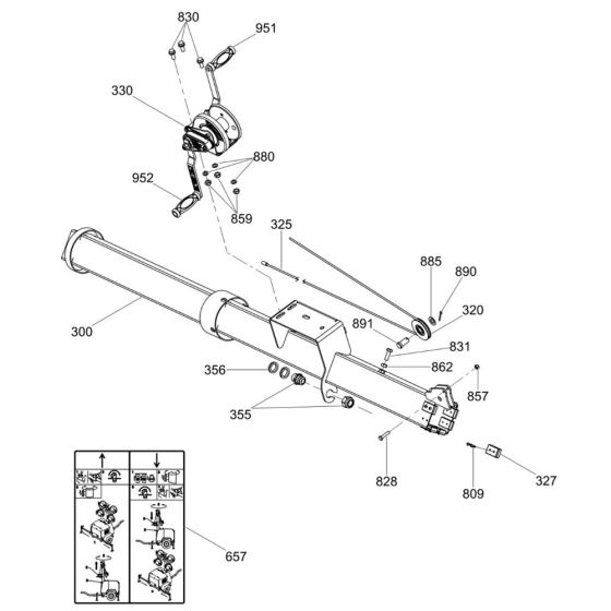
The Tower Assembly for the Wacker Neuson LTV8K Lighting Tower includes key components to ensure optimal lighting performance. Designed for durability and reliability, this assembly supports the tower's structure and function. Typical parts include brackets, fasteners, and stabilisers, all essential for maintaining the tower's integrity and stability during operation.
Reviews
Add a review
Write Your Own Review
Ask a Question
Customer Questions

