Description
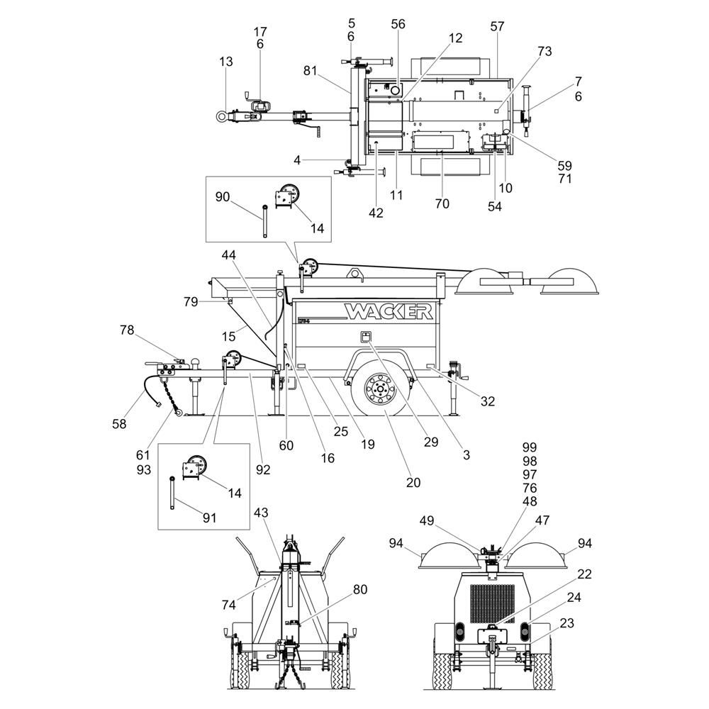
The Trailer Assembly for the Wacker LTC4C Lighting Tower includes essential components to ensure stability and mobility. Designed for secure transport and positioning, it supports the lighting tower's operation in various environments. Genuine Wacker Neuson parts ensure compatibility and reliability, maintaining the tower's performance and safety standards.
Reviews
Add a review
Write Your Own Review
Ask a Question
Customer Questions

