Description
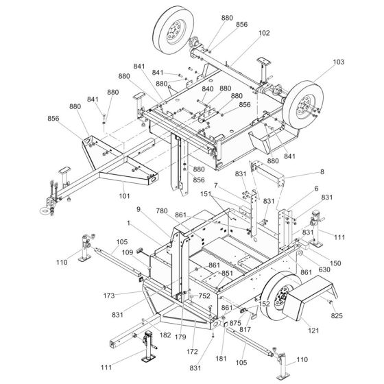
The Trailer Assembly for the Wacker LTW20Z3 Lighting Tower includes key components to ensure stability and mobility. Designed for efficient transport and setup, it supports the lighting tower's operation in various environments. Components may include axles, hitches, and stabilisers, all contributing to reliable performance.
Reviews
Add a review
Write Your Own Review
Ask a Question
Customer Questions

