Description
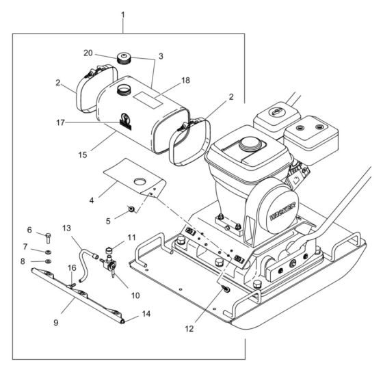
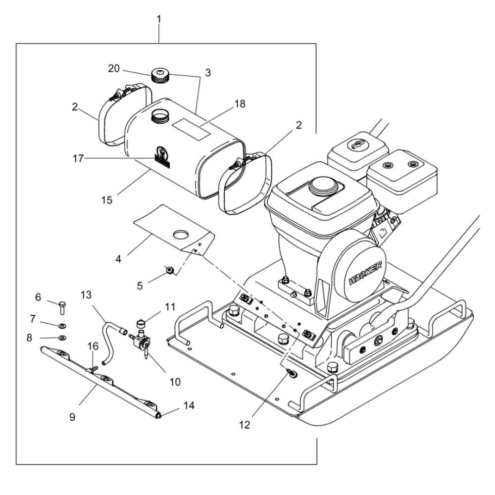
The Water System Assembly for the Wacker VPG165A Compactor is designed to ensure optimal performance and longevity of the machine. This assembly includes key components that facilitate efficient water distribution, essential for dust suppression and compaction tasks. Genuine Wacker Neuson parts ensure compatibility and reliability, supporting effective operation in various construction environments.
Reviews
Add a review
Write Your Own Review
Ask a Question
Customer Questions

