Description
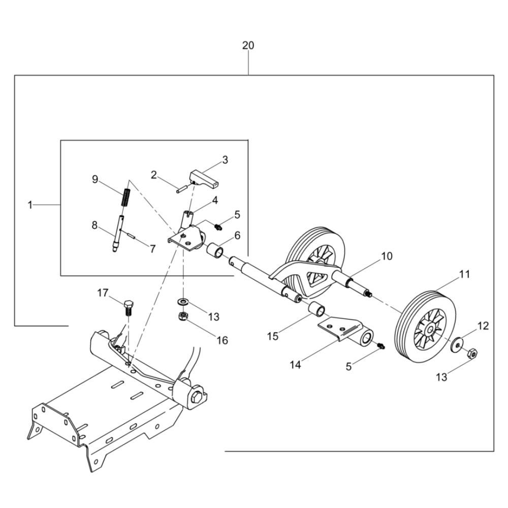
The Wheel Assembly for the Wacker VPX1750 Compactor is designed to facilitate easy transportation and manoeuvrability of the machine. This assembly includes essential components such as wheels, axles, and brackets, ensuring reliable performance and durability. Genuine Wacker Neuson parts are used to maintain the integrity and efficiency of the compactor.
Reviews
Add a review
Write Your Own Review
Ask a Question
Customer Questions

