Description
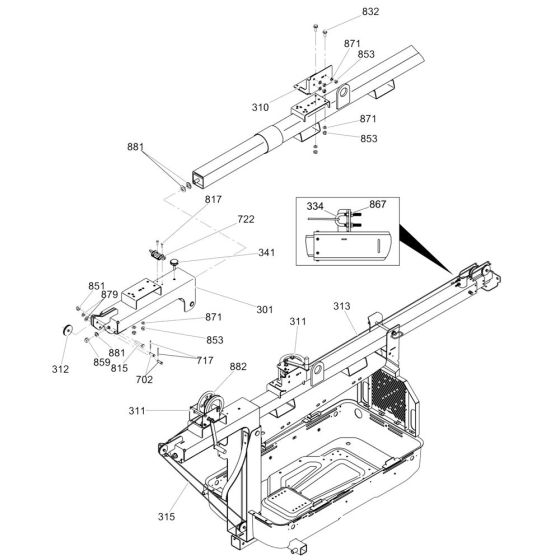
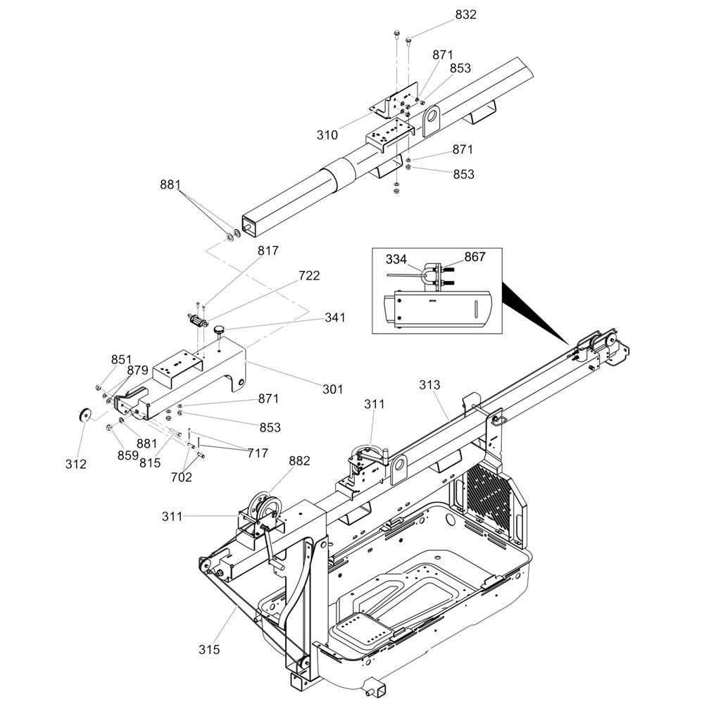
The Winch Routing Assembly for the Wacker LTC6L Lighting Tower is designed to ensure efficient and safe operation. This assembly includes components such as cables, pulleys, and brackets, which are essential for the proper functioning of the lighting tower's winch system. Regular maintenance of these parts helps in extending the lifespan of the equipment and ensures reliable performance in various lighting applications.
Reviews
Add a review
Write Your Own Review
Ask a Question
Customer Questions

