Description
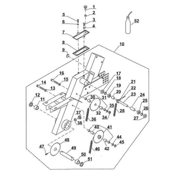
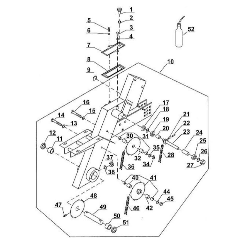
The Gear Head Assembly for Viking VH 550 Tilers is a crucial component designed to ensure optimal performance and longevity of your tiler. This genuine Viking part includes various elements such as gears, shafts, and bearings, all working together to provide smooth and efficient operation. Ideal for routine maintenance and repairs, it helps maintain the reliability of your tiling equipment.
Reviews
Add a review
Write Your Own Review
Ask a Question
Customer Questions

