excellent reviews view over 8000 reviews
next day delivery over 500,000 items in stock
no hassle returns buy with confidence
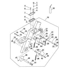
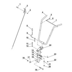
Viking VH550 Tiler Parts

Viking VH550 Tiler Parts

Spare parts and part diagrams for Viking VH550 Tilers
Spare parts and part diagrams for Viking VH550 Tilers

All products

We can't find products matching the selection.

Recently viewed products