Description
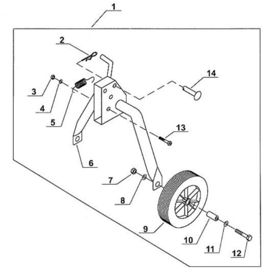
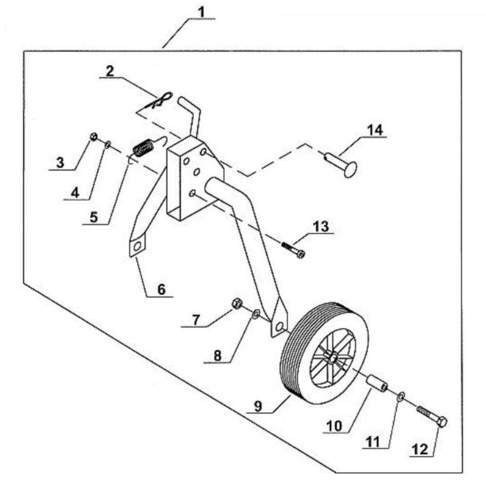
The Support Wheel Assembly for Viking VH 550 Tilers is a genuine Viking part designed to enhance the stability and manoeuvrability of your tiller. This assembly includes key components such as wheels, axles, and brackets, ensuring smooth operation on various terrains. Essential for maintaining the performance and efficiency of your Viking VH 550 Tiler.
Reviews
Add a review
Write Your Own Review
Ask a Question
Customer Questions

