Description
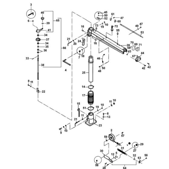
The Main Assembly for the DeWalt DW729-TYPE-2 Radial Arm Saw includes key components essential for the saw's operation and maintenance. This genuine DeWalt part ensures optimal performance and longevity. Typical components may include brackets, levers, and fasteners, all designed to fit seamlessly with the DW729 model, providing reliable and efficient cutting capabilities.
Reviews
Add a review
Write Your Own Review
Ask a Question
Customer Questions

