
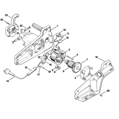
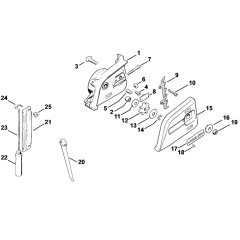
Stihl E14 Electric Chainsaw Parts
Stihl E14 Electric Chainsaw Parts. Easy to use parts diagrams for each assembly on the chainsaw. Stocking spare parts including the spur gear and the chain sprocket.
Stihl E14 Electric Chainsaw Parts. Easy to use parts diagrams for each assembly on the chainsaw. Stocking spare parts including the spur gear and the chain sprocket.
Shop by diagram
All products
-
12" Stihl Chain 44 Links 3/8" Picco 1.1mm£15.48 £12.90 As low as £10.97 -
14" Stihl Chain 50 Links 3/8" Picco 1.1mm£15.30 £12.75 As low as £10.84 -
Bumper Strip for Stihl 084, 044 - 1121 648 6610£2.05 £1.71 -
E-Clip 4 for Stihl MS181, MS170 - 9460 624 0400£0.34 £0.28 -
14" (35cm) 50 Links - PS3 - 3/8"LP / 050" (1.3mm) Chain£21.16 £17.63 -
Lever for Stihl MS460, MS270 - 1121 162 5010£1.81 £1.51 -
Pin for Stihl MS460, 034 - 1121 162 5205£2.08 £1.73 -
Rivet 6mm for Stihl TS360 - 0000 974 1000£1.48 £1.23 -
Guide Piece for Stihl 024, MS240 - 1121 664 2800£1.69 £1.41 -
Switch for Stihl E14, E20 - 1206 435 0303£16.76 £13.97 -
16" (40cm) 55 Links - PD3 - 3/8"LP / 050" (1.3mm) Chain£66.12 £55.10 -
Spur Gear for Stihl E20, E220 - 1116 647 1806£6.10 £5.08