
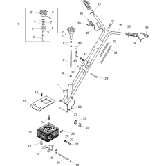
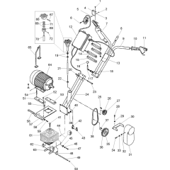
Belle 1400 Series Pro Trowel (600) Parts
Genuine Spare Parts for Belle 1400 Series Pro Trowel (600), Complete Parts Breakdown Available. Buy Online From an Authorised Belle Dealer
Genuine Spare Parts for Belle 1400 Series Pro Trowel (600), Complete Parts Breakdown Available. Buy Online From an Authorised Belle Dealer
Shop by diagram
All products
-
Washer M10 for Belle Construction Equipment£0.48 £0.40 -
Washer M8 for Belle Construction Equipment£0.52 £0.43 -
Washer M6 for Belle Construction Equipment£0.52 £0.43 -
Engine Honda Gx120 Ut2 Qx4 - Genuine Belle Part - 20/0038£374.40 £312.00