excellent reviews view over 8000 reviews
next day delivery over 500,000 items in stock
no hassle returns buy with confidence
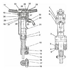
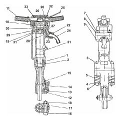
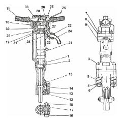
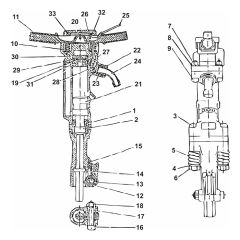
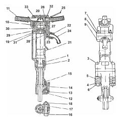
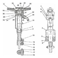
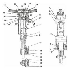
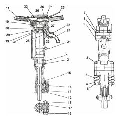
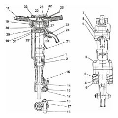
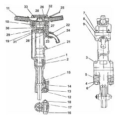
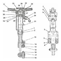
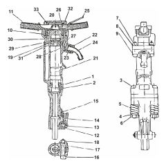
CP1230 Breaker Parts

CP1230 Breaker Parts

All products

37 Items

Set Descending Direction

37 Items

Set Descending Direction

Recently viewed products