
Husqvarna TF 545D Cultivator/Tiller Parts
Spares for Husqvarna TF 545D Cultivator/Tiller. Genuine and Non Genuine Parts.
Spares for Husqvarna TF 545D Cultivator/Tiller. Genuine and Non Genuine Parts.
Shop by diagram

Cylinder Assembly for TF 545D

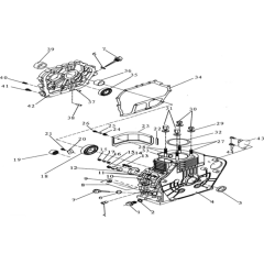
Bonnet Assembly for TF 545D

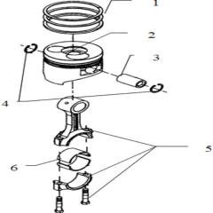
Piston & Crankshaft Assembly

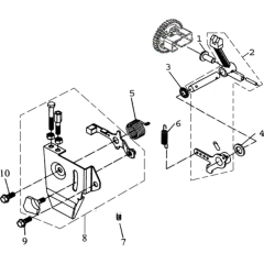
Ignition System for TF 545D

Gear Box Assembly for Husqvarna

Cover Assembly for Husqvarna

Muffler Assembly for TF 545D

Oil Pump Assembly for Husqvarna

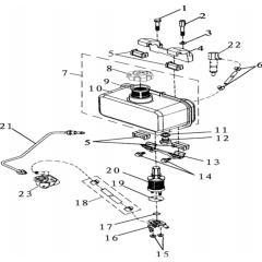
Fuel Tank Assembly for TF 545D

Controls Assembly for TF 545D

Intake System for Husqvarna TF 545D

Starter Assembly for TF 545D

Handle Assembly for Husqvarna

Transmission Assembly for TF 545D

Transmission-2 Assembly

Transmission-3 Assembly

Walking Case Assembly

Engine Assembly for TF 545D

Tow Bar Assembly for TF 545D

Tine Shield Assembly for TF 545D

Wheels & Tyres for Husqvarna TF 545D
