
Loncin G390FD (389cc, 11hp) Engine Parts
Wide Range of Genuine Spare Parts for Loncin G390FD (389cc, 11hp) G Series Engines. Complete Parts Diagram Breakdown Provided.
Wide Range of Genuine Spare Parts for Loncin G390FD (389cc, 11hp) G Series Engines. Complete Parts Diagram Breakdown Provided.
Shop by diagram

Air Cleaner for Loncin G390FD

Camshaft Assembly for Loncin

Carburetor Assembly Loncin G390FD

Carburetor Assembly for Loncin

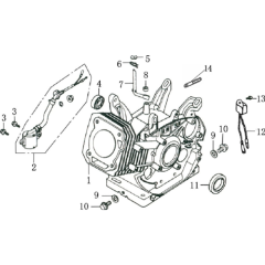
Crankcase Assembly for Loncin

Crankcase Cover for Loncin G390FD

Crankshaft Assembly for Loncin

Cylinder Head Assembly

Flywheel Assembly for Loncin

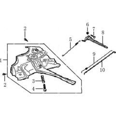
Fuel Tank Assembly for Loncin

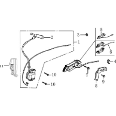
Ignition Comp Assembly

Muffler Assembly for Loncin G390FD

Piston & Rod Assembly for Loncin

Starter Assembly for Loncin G390FD

Starter Assembly for Loncin G390FD
All products
-
Service Kit for Loncin G340F, G390F, G420F Engines£28.34 £23.62
-
GOVERNOR ROD£2.18 £1.82
-
Rocker Cover for Loncin G390 Engine - 120220009-0001£21.67 £18.06
-
Camshaft for Loncin G390 ES Engines - 140020109-0001£54.71 £45.59