
Loncin LC360 Tiller Parts
Wide Range of Genuine Spare Parts for Loncin LC360 Tillers. Complete Parts Diagram Breakdowns Available.
Wide Range of Genuine Spare Parts for Loncin LC360 Tillers. Complete Parts Diagram Breakdowns Available.
Shop by diagram

Air Cleaner for Loncin LC360

Blade Assembly for Loncin LC360

Carburettor Assembly for LC360

Closing Wheel & Strap Assembly

Crankcase Assembly for LC360

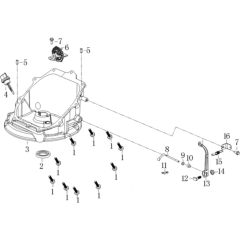
Crankcase Cover for Loncin LC360

Crankshaft/Piston Assembly

Engine Assembly for LC360

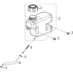
Fuel Tank Assembly for LC360

Gearbox Assembly for Loncin LC360

Muffler Assembly for LC360 Tiller

Armrest Assembly for LC360

Starter Assembly for Loncin LC360
All products
-
Belt for Loncin LC360 Tiler - OEM No. 193000025-0001£22.48 £18.73
-
Gearbox, Genuine Loncin Part, OEM No. 191890008-0001£163.92 £136.60
-
Nut for Loncin LC152 Engine - 380370048-0001£1.40 £1.17
-
Bolt Flange Loncin G270FD, LC2500-F Engines - OEM No. 380140167-0002Was £0.56 £0.47 Special Price £0.46 £0.38