
Nilfisk CORE 130-6 POWERCONTROL Pressure Washer Parts
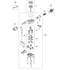
Shop by diagram
All products
-
Rotary Brush for Nilfisk Machines - OEM No. 126411395£27.97 £23.31 -
Nilfisk Click&Clean Super Foam Sprayer£24.96 £20.80 -
Bag W. 20 O-Rings for Nilfisk Machines - OEM No. 6411221£23.09 £19.24 -
Multi Brush for Nilfisk Machines - OEM No. 128470456£40.50 £33.75 -
Multi Brush Kit for Nilfisk Machines - OEM No. 128470459£56.40 £47.00 -
Rotary Brush for Nilfisk Machines - OEM No. 6410762£72.58 £60.48 -
Vsb Set - Green for Nilfisk Machines - OEM No. 6410891£95.18 £79.32 -
Roof Cleaner for Nilfisk Machines - OEM No. 128470040£109.61 £91.34 -
C&C Car Nozzle for Nilfisk Machines - OEM No. 6411136£19.20 £16.00 -
G1 Gun Nilfisk for Nilfisk Machines - OEM No. 128500908£25.20 £21.00 -
Click & Clean Auto Brush for Nilfisk Pressure Washer - OEM No. 6411131Was £43.39 £36.16 Special Price £34.72 £28.93 -
Ext. Hose 7 M - Quick Coupling for Nilfisk Machines - OEM No. 106411346Was £76.12 £63.43 Special Price £60.89 £50.74