
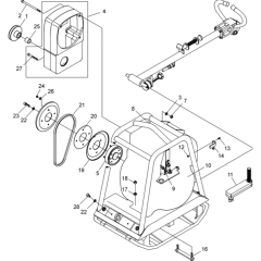
Wacker DPU2960 (Diesel-crankstarter) Parts
Wacker DPU2960 with Diesel-Crankstarter Engine. Genuine Wacker Parts Available. Complete Parts Assembly Breakdown Included.
This Parts Diagram is Based on Serial Number 5000007883. Please Note, Parts May Vary Between Revisions. Refer to Your User Manual to Identify Your Revision and Serial Number. If you are Unsure Please Contact our Sales Team
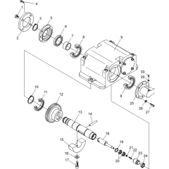
Wacker DPU2960 with Diesel-Crankstarter Engine. Genuine Wacker Parts Available. Complete Parts Assembly Breakdown Included.
This Parts Diagram is Based on Serial Number 5000007883. Please Note, Parts May Vary Between Revisions. Refer to Your User Manual to Identify Your Revision and Serial Number. If you are Unsure Please Contact our Sales Team
Shop by diagram
All products
-
Vib Housing DPU/BPU - Genuine Wacker Part No. 0047077£829.20 £691.00 -
Throttle Control Lever DPU2950 - Genuine Wacker Part No. 0105228£165.60 £138.00 -
Shaft 11 DPU/BPU - Genuine Wacker Part No. 0047062£358.32 £298.60 -
Shaft 1 Exciter DPU/BPU - Genuine Wacker Part No. 0047074£696.00 £580.00 -
Protective Frame DPU 2950 - Genuine Wacker Part No. 0047317£1,731.60 £1,443.00 -
Machined Pin Exc DPU/BPU - Genuine Wacker Part No. 0047044£338.28 £281.90 -
Inner Ring DPU/BPU - Genuine Wacker Part No. 0047078£37.44 £31.20 -
Hose Hyd DPU3345 - Genuine Wacker Part No. 5000069735£25.32 £21.10 -
Gear Wheel DPU/BPU - Genuine Wacker Part No. 0047057£299.64 £249.70