Description
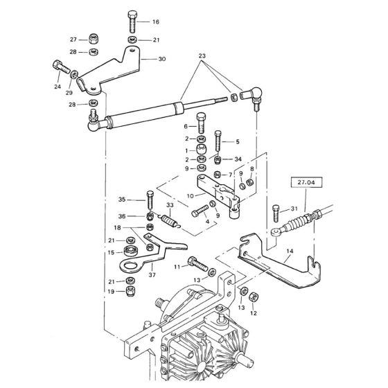
The Actuation Assembly for the Bomag BW 71 E Roller includes key components essential for the machine's operation. Designed to ensure optimal performance, this assembly helps in controlling the roller's functions effectively. Typical components may include levers, springs, and connectors, all contributing to the roller's precise actuation and control.
Reviews
Add a review
Write Your Own Review
Ask a Question
Customer Questions

