Description
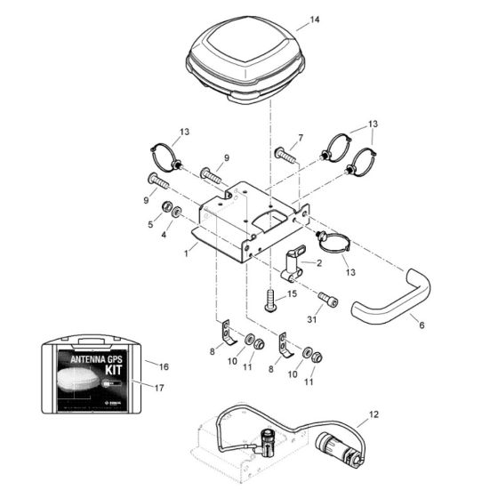
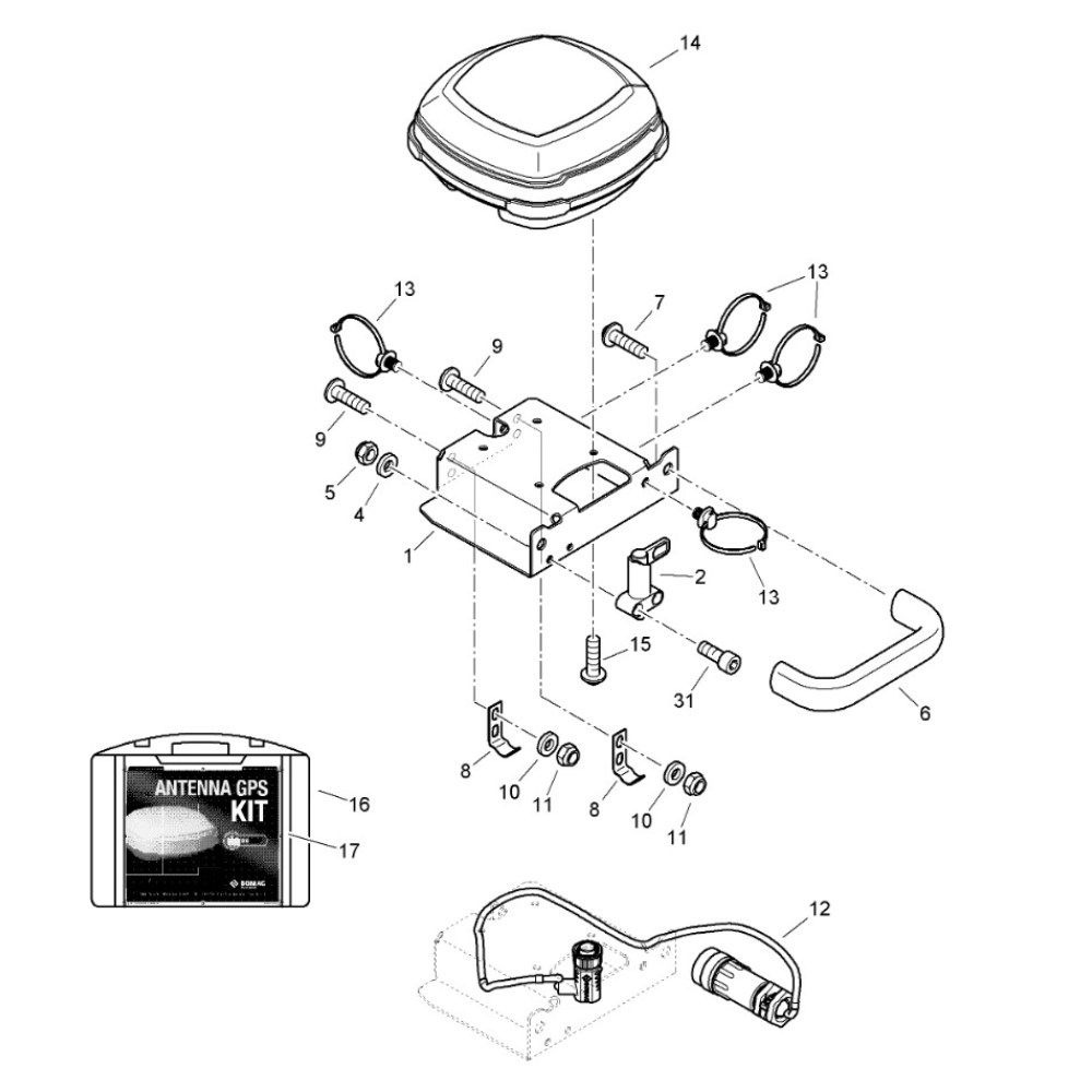
The Aerial Assembly for the Bomag BW 120 AD-5 CC Roller is designed to ensure optimal communication and control during operation. This assembly is crucial for maintaining the roller's performance, providing reliable signal reception and transmission. Components typically include antennas, mounts, and connectors, all tailored to fit the Bomag model precisely.
Reviews
Add a review
Write Your Own Review
Ask a Question
Customer Questions

