Description
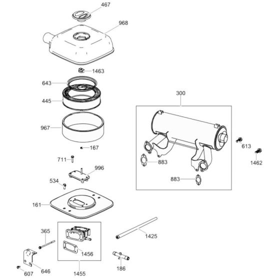
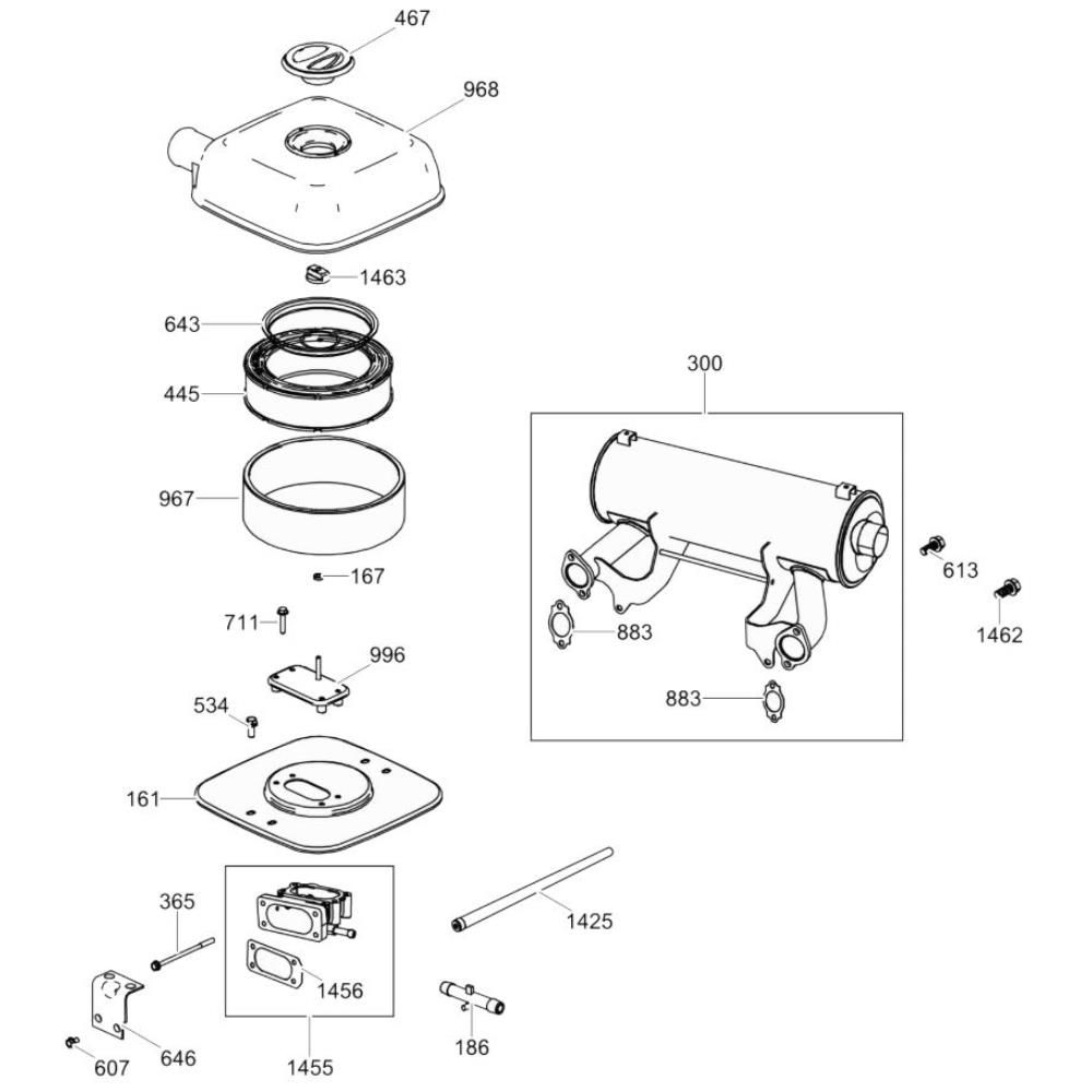
The Air Cleaner Assembly for the Wacker CRT 48-35V Trowel is designed to ensure optimal engine performance by filtering out dust and debris. This assembly is crucial for maintaining the longevity and efficiency of your ride-on trowel. Components include filters, seals, and housing, all tailored to fit the Wacker Neuson model precisely.
Reviews
Add a review
Write Your Own Review
Ask a Question
Customer Questions

