Description
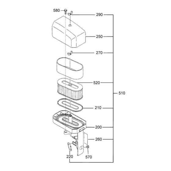
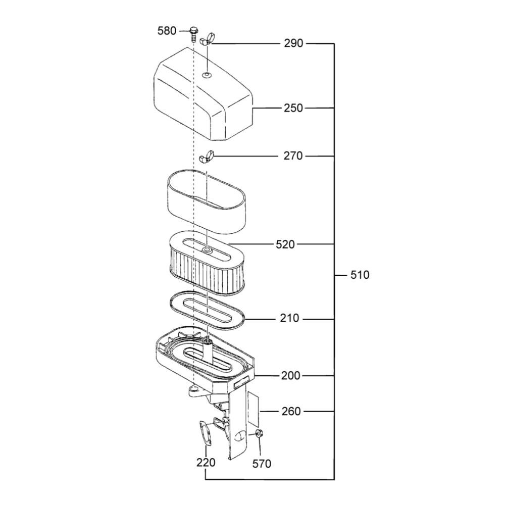
The Air Cleaner Assembly for the Wacker PDT2 Pump is essential for maintaining optimal performance and longevity. This assembly ensures that the pump operates efficiently by filtering out dust and debris, protecting the engine from potential damage. Components include filters, housings, and seals, all designed to fit the Wacker Neuson Diaphragm Trash Pump. Regular maintenance with genuine parts helps ensure reliable operation.
Reviews
Add a review
Write Your Own Review
Ask a Question
Customer Questions

