Description
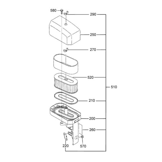
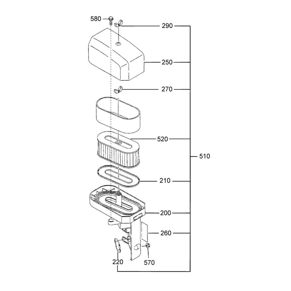
The Air Cleaner Assembly for the Wacker PG3 Pump is designed to ensure optimal performance by filtering out dust and debris. This assembly is crucial for maintaining the efficiency and longevity of the pump. It includes components such as filters, housings, and seals, which work together to protect the engine from contaminants. Suitable for routine maintenance and repair, it helps keep the pump running smoothly.
Reviews
Add a review
Write Your Own Review
Ask a Question
Customer Questions

