Description
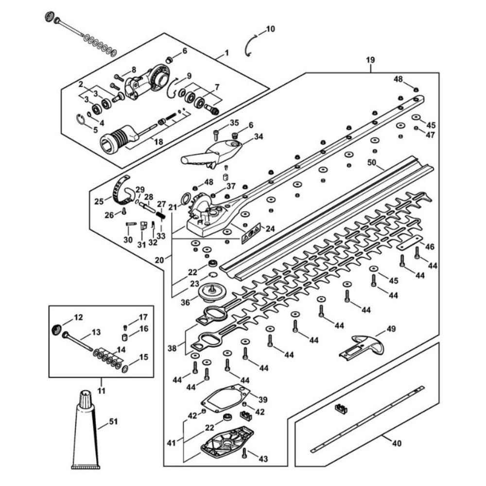
The Angle Drive 600mm Assembly is designed for the Stihl HL 145 Power Tool Attachment, ensuring efficient performance and durability. This genuine Stihl part facilitates precise angle adjustments, enhancing the tool's versatility for various tasks. Essential components include gears, shafts, and connectors, all contributing to smooth operation and extended service life.
Reviews
Add a review
Write Your Own Review
Ask a Question
Customer Questions

