Description
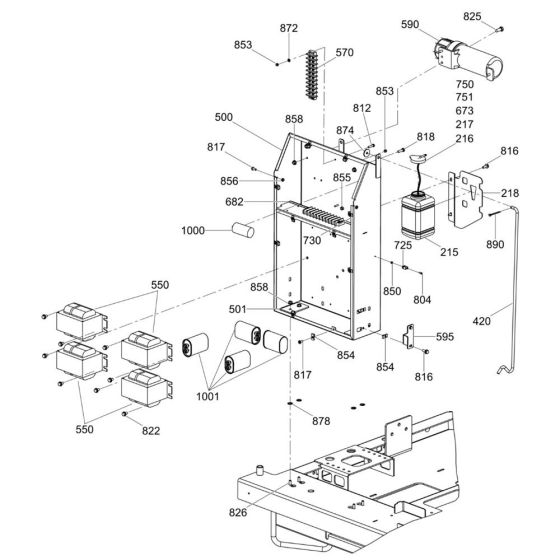
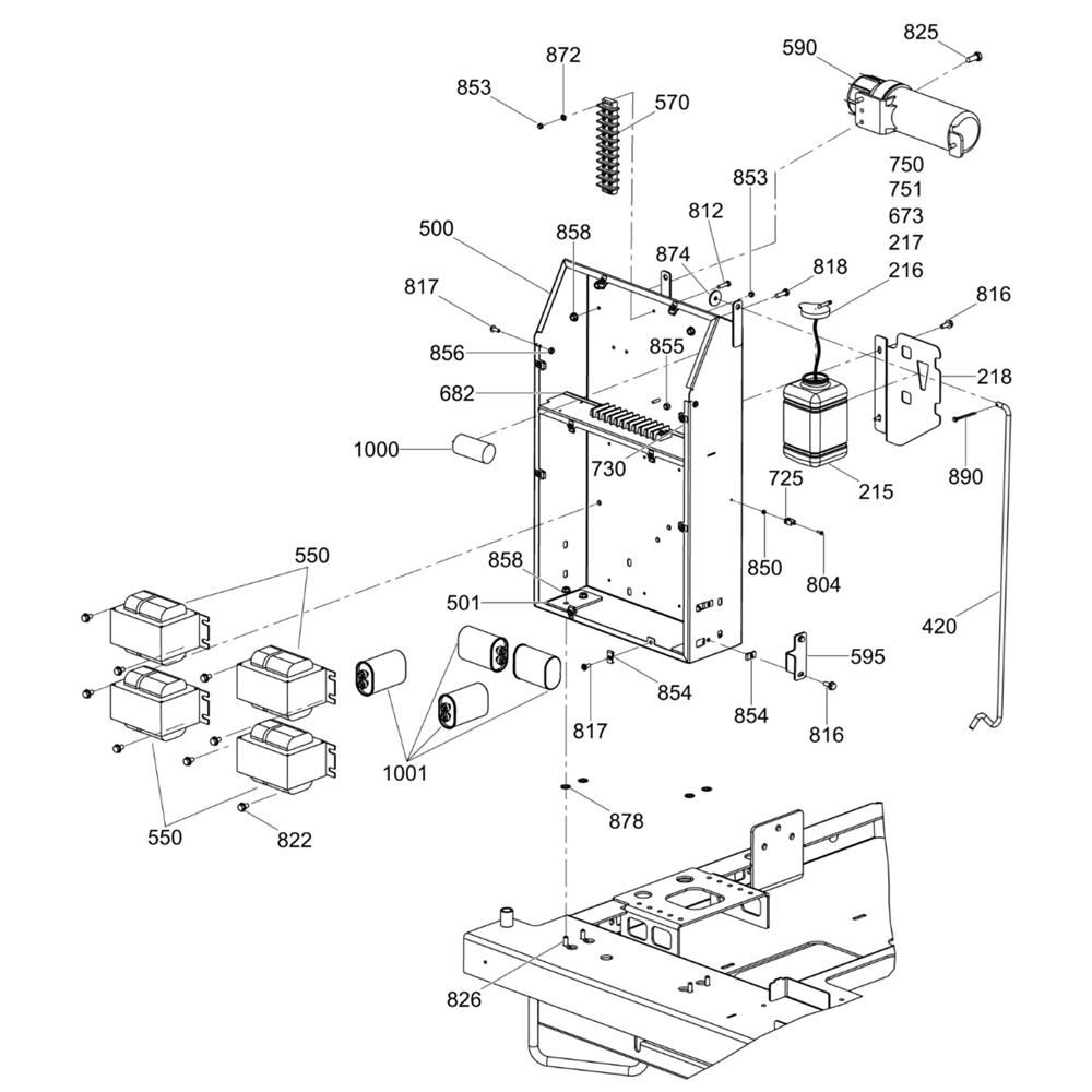
The Ballast Assembly for the Wacker Neuson LTV6L Lighting Tower is essential for maintaining optimal lighting performance. This assembly includes components that regulate electrical current, ensuring stable and efficient operation. Designed for durability and reliability, it helps extend the lifespan of the lighting tower. Genuine parts are available for precise fit and function.
Reviews
Add a review
Write Your Own Review
Ask a Question
Customer Questions

