Description
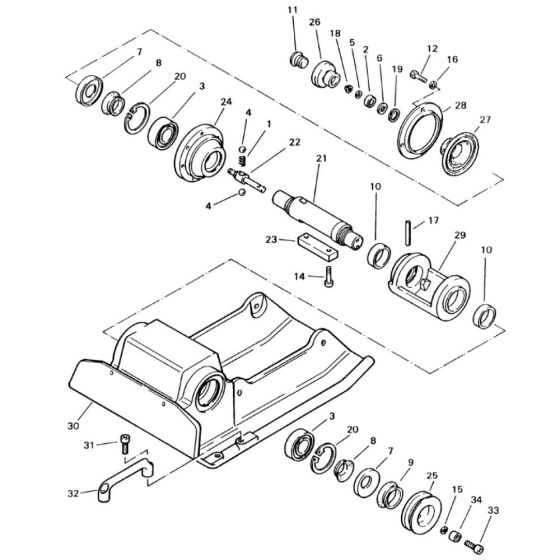
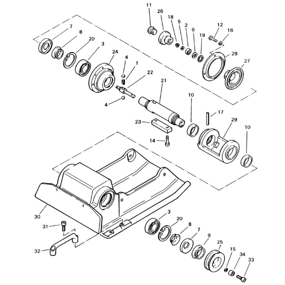
The Base Plate Assembly for Bomag BP 20/53 Compactors is a crucial component designed to ensure optimal performance and longevity of your compactor. This assembly includes essential parts that help distribute force evenly, reducing wear and tear on the machine. Genuine Bomag spare parts ensure compatibility and reliability, maintaining the efficiency of your equipment.
Reviews
Add a review
Write Your Own Review
Ask a Question
Customer Questions

