Description
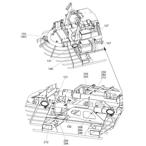
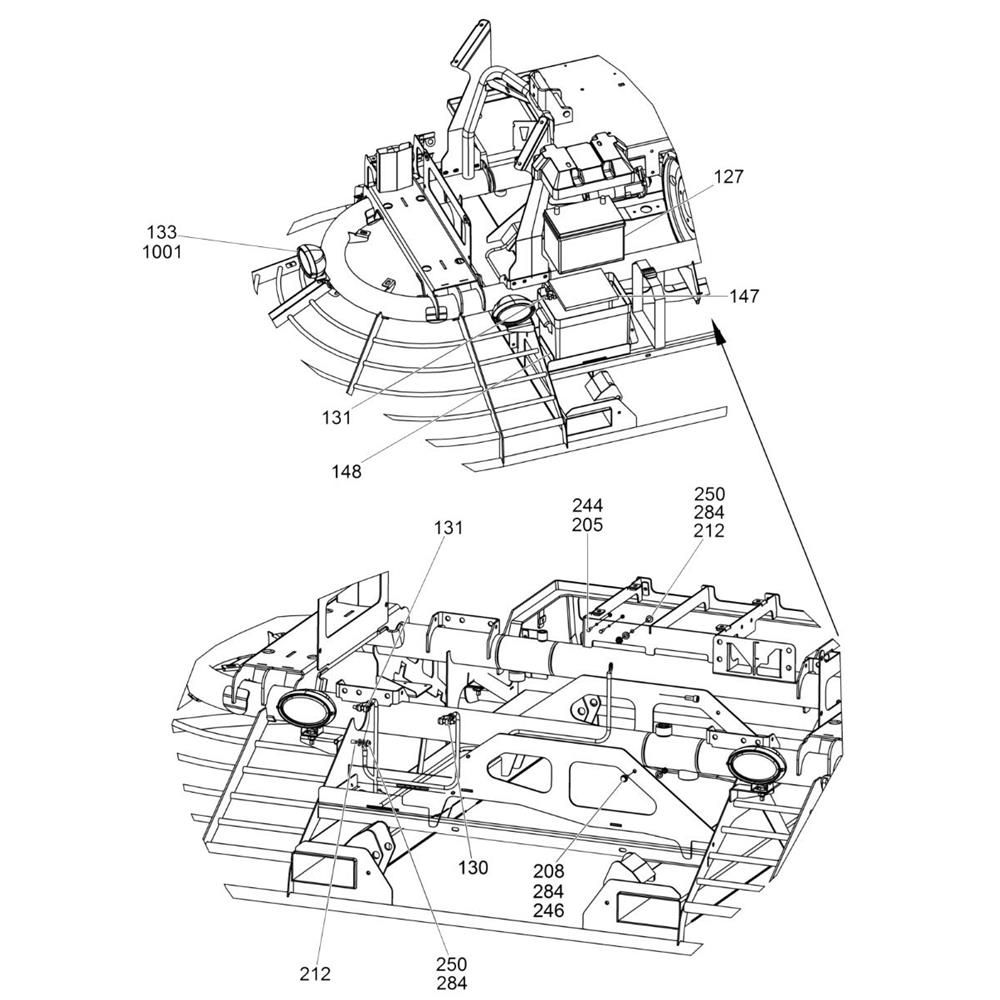
The Battery Assembly for the Wacker CRT 60-66 Trowel is essential for powering the ride-on trowel, ensuring efficient and reliable operation. This assembly includes components designed to provide consistent energy supply, enhancing the performance and longevity of the trowel. Genuine Wacker Neuson parts ensure compatibility and durability.
Reviews
Add a review
Write Your Own Review
Ask a Question
Customer Questions

