Description
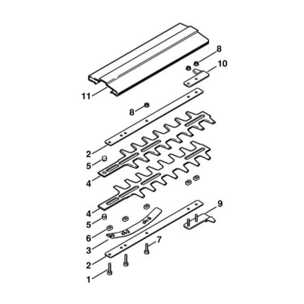
The Blade Assembly for the Stihl FH 135 Power Tool Attachment is a genuine Stihl part designed to ensure optimal cutting performance. This assembly includes key components that contribute to the effective operation of the tool, providing clean and precise cuts. Ideal for maintaining the efficiency and longevity of your Stihl equipment.
Reviews
Add a review
Write Your Own Review
Ask a Question
Customer Questions

