Description
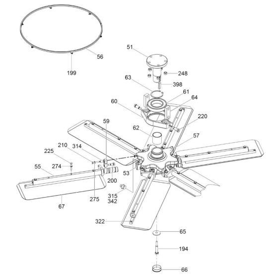
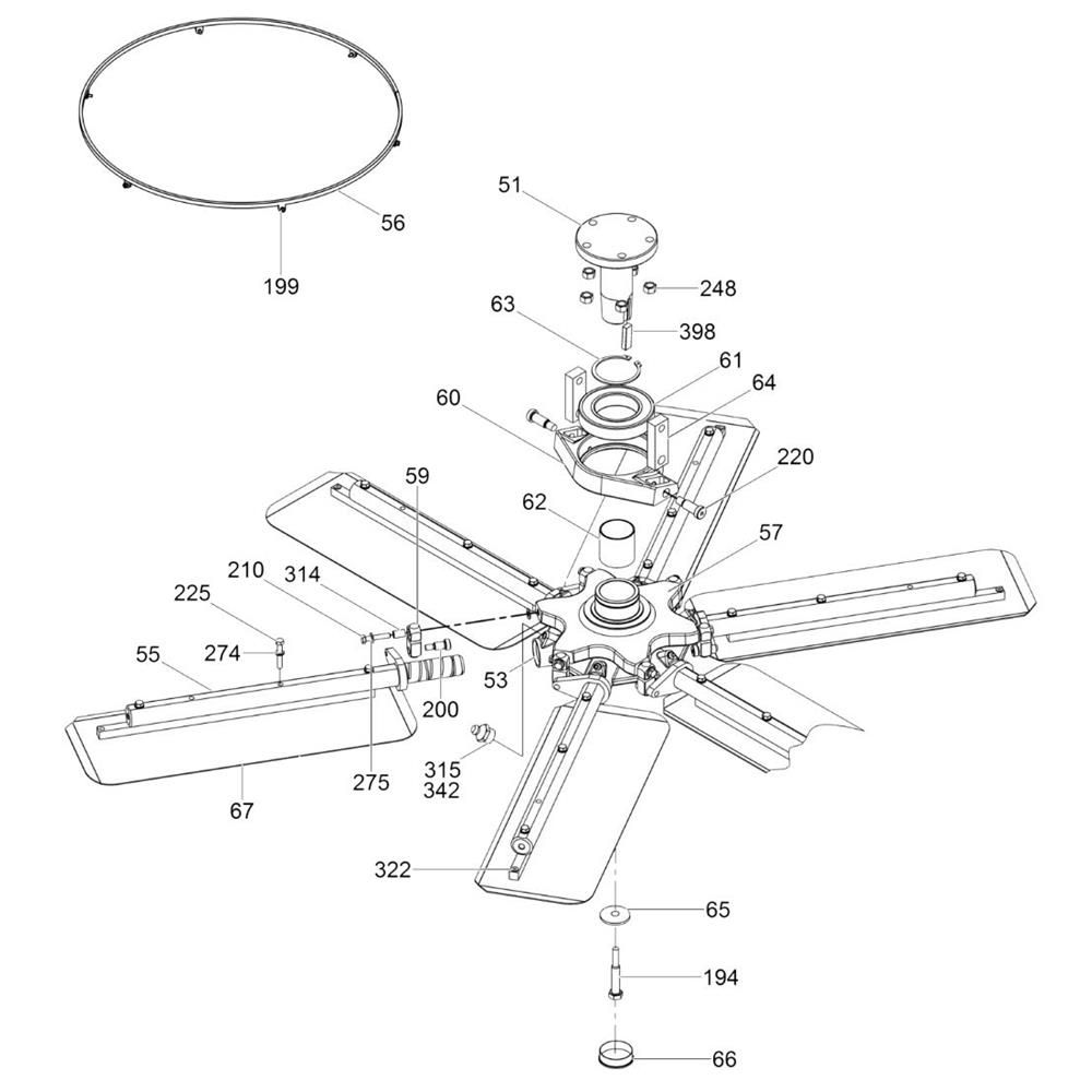
The Blade Mechanism (Left) Assembly for the Wacker CRT 60-66 Trowel is essential for maintaining optimal performance of your ride-on trowel. This genuine Wacker Neuson assembly includes components designed to ensure smooth operation and precise control. Key parts may include blades, springs, and adjustment levers, contributing to efficient concrete finishing.
Reviews
Add a review
Write Your Own Review
Ask a Question
Customer Questions

