Description
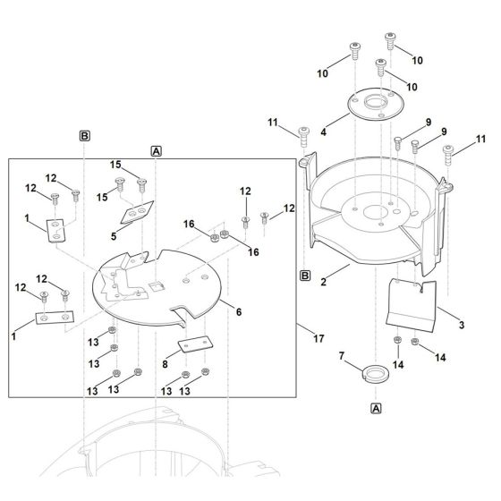
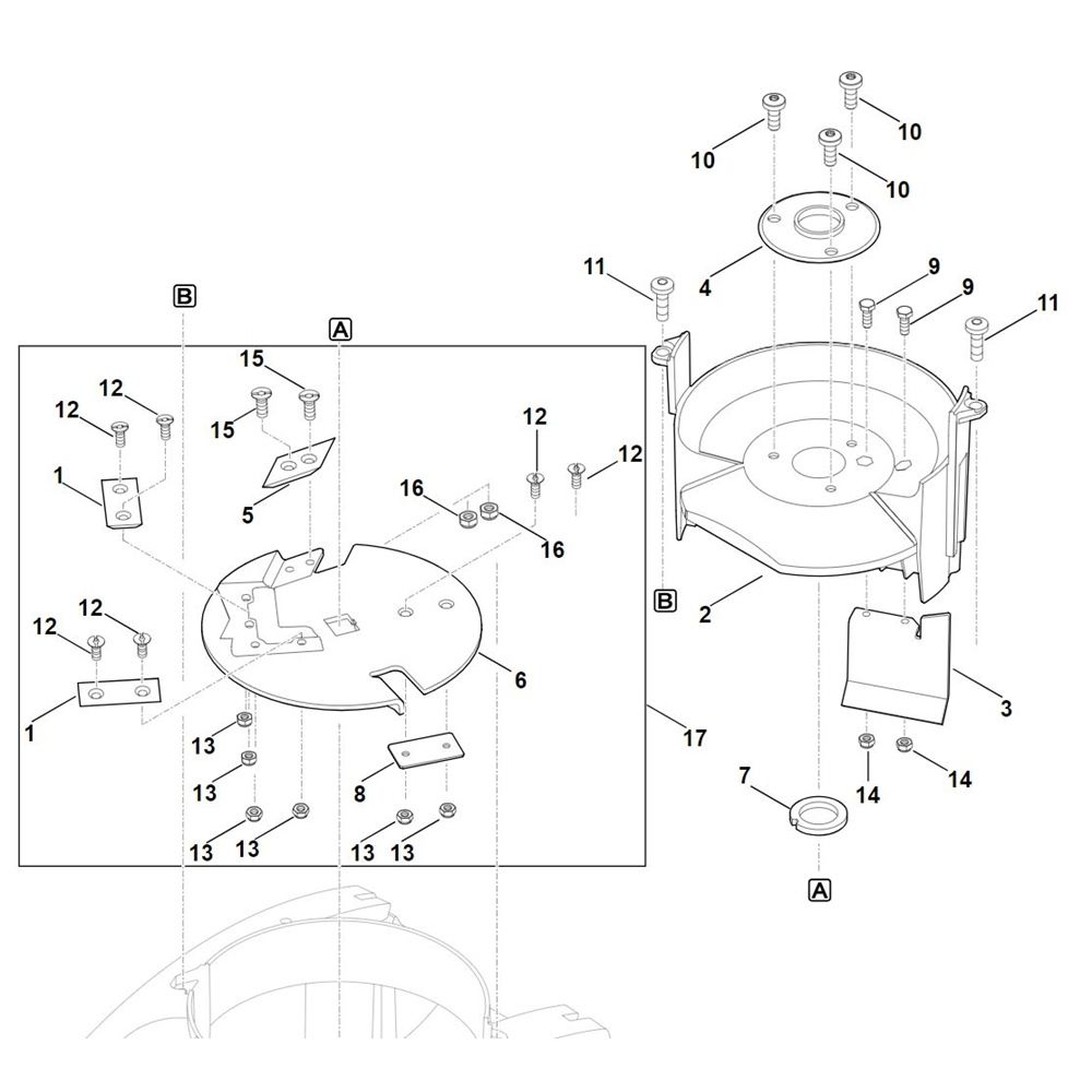
The blade set for the Stihl GH 460.1 C Shredder is designed to ensure efficient chipping and shredding performance. These genuine Stihl parts are crafted to maintain the shredder's cutting precision and durability. Ideal for processing garden waste, the blades help in reducing debris size for easier disposal or composting. Regular replacement of blades can enhance the machine's lifespan and efficiency.
Reviews
Add a review
Write Your Own Review
Ask a Question
Customer Questions

